资讯 
了解行业以及华进新闻资讯。
国产游戏里程碑之作《黑神话:悟空》昨日发布,游戏行业IP保护任重道远
2024-08-21
来 源:光明网、金融界、界面新闻等
2024年8月20日,备受期待的国产3A级游戏大作《黑神话:悟空》正式上线,标志着中国游戏产业迈入了一个新的里程碑。
这款游戏以中国古典文学《西游记》中的孙悟空为核心,结合了高水平的视觉效果和流畅的战斗系统,展示了中国游戏开发的技术实力,获得了全球玩家和媒体的高度评价。
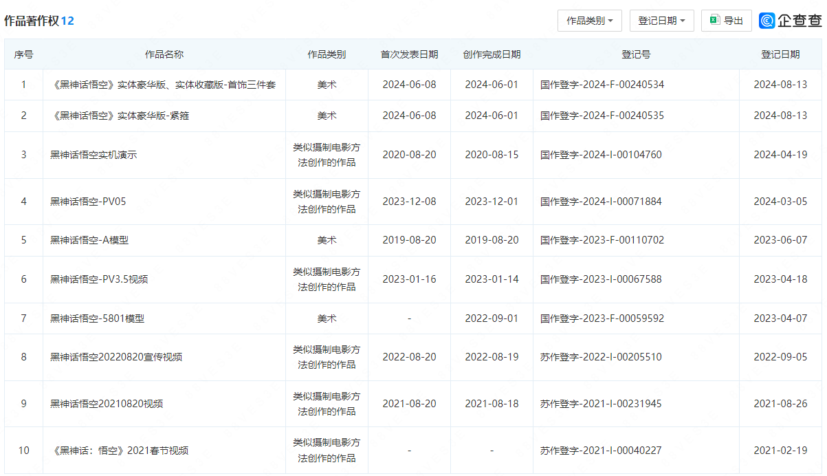
作为一部结合了中国传统文化和现代科技的作品,《黑神话:悟空》在制作过程中展示了令人瞩目的艺术水准与技术实力。然而,随着这款游戏的问世,关于其知识产权保护问题也随之成为了业界关注的焦点。
知识产权保护对游戏行业的健康发展至关重要。游戏作为一种集成了文学、音乐、美术、编程等多种创作形式的综合艺术品,面临着极高的抄袭与侵权风险。因此,如何保护游戏的原创性、维护开发者的合法权益,成为了游戏公司必须正视的重要问题。
作为国产游戏的代表性作品,《黑神话:悟空》从开发初期便高度重视知识产权的保护,并采取了一系列措施以确保其在全球市场的知识产权不受侵犯。
2020年起,游戏开发团队的关联公司深圳市游科互动科技有限公司就对“黑神话悟空”、“黑神话”等相关商标进行了全类别注册,甚至注册了系列以“黑神话”为前缀的商标,力求全方位无死角的保护这个核心IP。但值得一提的是,该游戏中玩家扮演的角色“天命人”似乎已被抢注。根据检索结果,2023年12月,自然人王某申请注册2枚“天命人”商标,国际分类为广告销售、办公用品。目前,上述商标已成功注册。
Copyright © 2021 乐鱼官方端网站登录入口.All Rights Reserved.粤ICP备12081038号